胖东来“红内裤事件”案宣判 被告博主“两个小段”已停更两个月

Connor 火必app 2025-05-30 30 0

封面新闻记者 姚瑞鹏

5月29日23:59,河南省许昌市魏都区人民法院官方微信发布关于胖东来与“红内裤”事件博主名誉纠纷案的一审宣判。

胖东来“红内裤事件”案宣判 被告博主“两个小段”已停更两个月

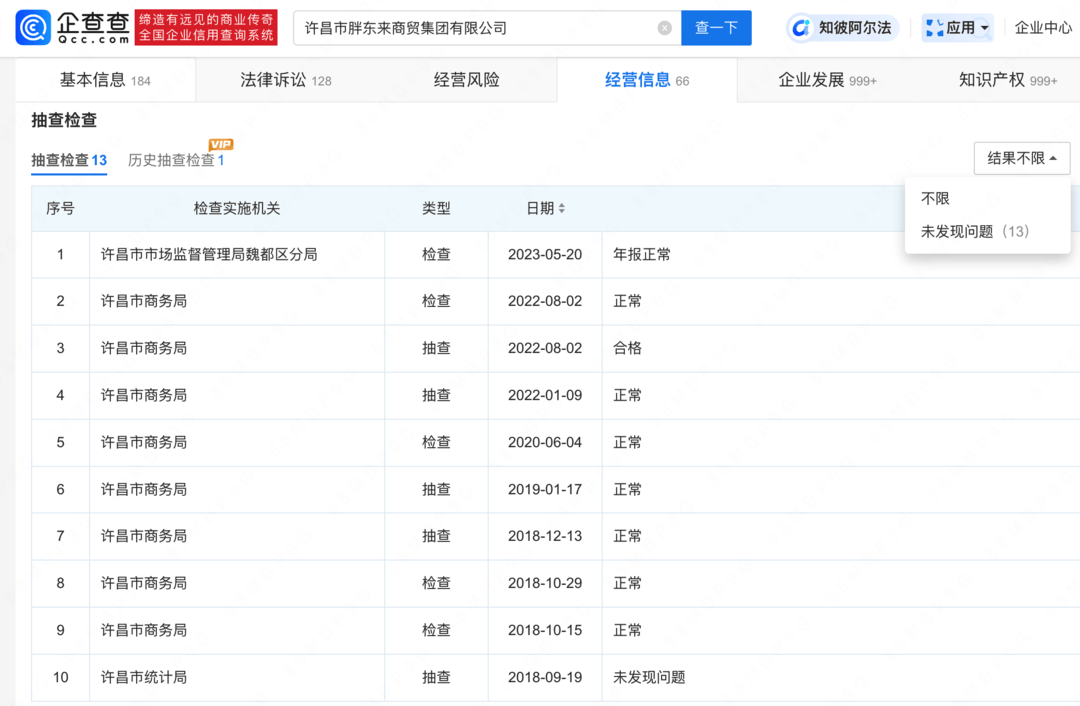
段某被判赔偿40万,道歉30天。5月30日查询段某出镜账号“两个小段”“两个小段(小)”发现,其多个视频评论区状态为“仅允许互关朋友评论”“作者仅允许自己评论”。值得注意的是,两账号最后一条视频发布时间均停留在3月,距今已停更2个月。据企查查信息显示,许昌市胖东来商贸集团有限公司曾经过多次抽查检查,均未发现问题。

今年2月4日,网红“两个小段”在抖音发布视频,称从胖东来购买的红内裤掉色,使用后出现过敏反应,还表示胖东来工作人员处理方式不当。

胖东来当日迅速回应,组建专项调查小组并下架涉事品牌系列产品。调查报告多达53页,内容十分详细记录了事件起因、经过、处理方案、整改方案以及商品检测方案等。

胖东来“红内裤事件”案宣判 被告博主“两个小段”已停更两个月

2月6日,胖东来再次发文,承认管理存在问题并致歉,承诺公示调查结果。经调查评估,胖东来认为段某视频借助其自媒体账号粉丝量大量转发,引发名誉与信任危机,严重损害品牌形象。此次胖东来以名誉权纠纷为由起诉段某,追责金额不低于100万元。

评论